
2
IN TODAY’S REPORT
💼BRIEFING
Top insights and analysis that is moving the needle in the automotive industry
Qualcomm announced 10 partnerships during CES
🔔 Leapmotor and Qualcomm announced an ongoing technology collaboration to introduce intelligent cockpit and driving capabilities to new vehicles across the globe.
🔔 Hyundai MOBIS and Qualcomm announced a technology alliance to deliver an end-to-end system solution that combines Snapdragon Ride Flex SoC with Hyundai Mobis's unified, scalable software platform to power advanced infotainment and advanced driver assistance systems.
🔔 Desay SV and Qualcomm held a joint signing ceremony to commemorate the companies’ co-innovation to deliver Desay SV’s next-generation intelligent cabin platform, the G10PH.
🔔 Garmin and Qualcomm announced the expansion of their automotive technology collaboration with the new Garmin Unified Cabin 2025, a next-generation digital cockpit solution powered by the Snapdragon Cockpit Elite platform.
🔔 Royal Enfield and Qualcomm announced a collaboration to integrate the hashtag#Snapdragon QWM2290 system-on-chip (SoC) and Snapdragon Car-to-Cloud Platform into the heart of the upcoming line of Flying Flea motorcycles.
🔔 Amazon and Qualcomm announced an intended technology collaboration to enable advanced in-vehicle experiences that leverage Qualcomm’s automotive expertise and Amazon’s AI services and cloud capabilities.
🔔 Mahindra Group and Qualcomm announced a technology collaboration to revolutionize the future of electric vehicles in India.
🔔 Sony Honda Mobility and Qualcomm announced the expansion of their technology collaboration to integrate the latest generation of Snapdragon Digital Chassis solutions into future AFEELA vehicles.
🔔 ALPS ALPINE and Qualcomm announced an expanded technology collaboration to integrate the Snapdragon Cockpit platform into Alps Alpine’s automotive products.
🔔 Panasonic Automotive Systems Co., Ltd and Qualcomm announced an expanded relationship aimed at redefining in-vehicle experiences.
As per a recent post by semianalysis, comparing the revenue of difference semiconductor shops in the Auto/Industrial vertical, Qualcomm is dwarfed by bigger player such as TI/Infineon.

In spite of that I predict Qualcomm is about to enter a major bull run within the automotive vertical. This run is primarily driven by their Ride platform. SoC that can be used across different ECUs in a vehicle.
In last years earning’s call, Qualcomm showed that the market for SDV will be around 100 $bn in 2030 and already now Qualcomm has secured about 45 $bn worth of contract wins. This is excluding the partnerships announced in CES. In December they also won the legal dispute against ARM.



They recorded an all-time high in Auto Revenues at $2.6bn.




BMW’s bold infotainment move
BMW unveiled their latest infotainment system, the Panoramic iDrive running on Operating System X.
What is the new infotainment system?
BMW’s new Panoramic iDrive system integrates a wide, pillar-to-pillar display—called Panoramic Vision—along with an optional 3D head-up display.

The Panoramic Vision display is split into three sections, with the center area acting as a digital instrument cluster for the driver, while the flanking regions can be customized with up to six widgets for audio, navigation, weather, and even performance metrics. Meanwhile, an enhanced multifunction steering wheel with haptic buttons replaces the traditional iDrive knob, allowing for easier control via BMW’s “shy-tech approach.”

Navigation prompts and other information appear in a coordinated manner on both the Panoramic Vision and the 3D head-up display, ensuring drivers stay informed while keeping their eyes on the road. BMW’s Intelligent Personal Assistant—powered by Large Language Models—further simplifies tasks like finding charging stations or other destinations, making the system more intuitive and adaptive to the driver’s needs.
Why?
The biggest selling point of this design is that more of the cluster is within the driver’s direct line of sight (where it should have been all along). Most solutions that other OEMs have brought to market today are only the “next best” option. Ideally, this approach aligns far better with the driver’s peripheral vision. Additionally, in most vehicles, the steering wheel covers much of the display, while in BMW’s system, the steering wheel is out of the way. In its truest sense, that’s what technology and tools should be: to get out of the operator’s way.
End of the iDrive Knob (2001–2025)
BMW is retiring its long-standing iDrive control knob—first introduced 24 years ago in the 2001 7 Series. Going forward, BMW’s new Panoramic iDrive system will feature touchscreen- and voice-based controls rather than the physical click-wheel.

User data revealed that most drivers simply aren’t engaging with the rotary knob, a shift accelerated by more modern iDrive interfaces (8, 8.5, 9) favoring touch.
Could this change what suppliers pitch around the Munich area? Let’s wait and see 🙂
New Contract for High-Performance AGM Batteries
Clarios announced a contract with an unnamed major U.S. auto manufacturer for high-performance AGM batteries (hAGM).
These batteries will be used in 2028 model year full-size SUVs (and potentially other pickup vehicles).
Production begins in Q4 2026 at Clarios’s Toledo AGM plant in the U.S.
Contract runs for seven years, covering up to 745,000 units annually.
Advanced 12V and 48V Supercapacitors
Clarios secured a separate “significant contract” to supply supercapacitors, also with a major automotive manufacturer.
Designed for both 12V and 48V systems.
Provides bursts of high power for functions like steer-by-wire, adding minimal extra weight.
Targeted at enhancing autonomous and electric vehicle operations as well as advanced safety features.
ABOUT CLARIOS
Clarios has a production facility for 12-volt vehicle batteries in Hanover, Germany. The company goes back to the Akkumulatorenfabrik Hannover, or AFA for short. This was renamed Varta AG in 1962. In 2002, Johnson Controls took over the battery manufacturer and sold it to Brookfield Business Partners at the beginning of 2019, which founded the company Clarios. The company still uses the Varta brand name for its starter batteries today. The company employs 18,000 people in more than 100 countries worldwide.

6M Stock performance of Brookefield Business Partners(Clarios’ parent company)
🗂️STAT OF THE WEEK

2 Chinese automotive companies have broken into the top 100 globally by revenue: BYD and SAIC Motor.
SAIC Motor
Well-known in Western markets for its e-mobility-focused joint venture with General Motors: SAIC-Wuling-GM.
Strong emphasis on electric vehicle (EV) innovation through partnerships and joint ventures.
BYD
Ranks among the top five Chinese tech companies in the global top 100 by revenue.
Seen as a major challenger to Tesla’s global EV dominance.
Focuses on vertical integration, battery technology and electric vehicles, contributing significantly to its revenue and international recognition.
⚡ROUNDUP
Key headlines shaping the auto industry this week
Tesla’s Long-Term Sales Trend — In Charts (Link)
China's passenger vehicle market hits all-time high in annual output, wholesales, exports (Link)
EVs Take 23.4% Share In Germany – Disappointing Year For EV Transition (Link)
BYD’s new Han L EV just leaked in China and it’s a monster (Link)
HERE Technologies launches AI Assistant for software-defined vehicles (Link)
Tata Technologies collaborates with Telechips to jointly develop solutions for software-defined vehicles (Link)
Tesla recalls 200,000 vehicles with faulty on-board computers (Link)
5 auto industry trends to watch in 2025 (Link)
CES 2025: India’s KPIT showcases innovative technology solutions (Link)
Despite Tariffs, BYD to Bring Compact BEV to Europe (Link)
Desay SV, Qualcomm launch new AI-powered smart cockpit platform at CES 2025 (Link)
Northvolt secures shareholder support amid financial challenges (Link)
Goodyear sells Dunlop brand to Sumitomo Rubber in strategic divestment (Link)
HERE and AWS partner to advance software-defined vehicle development (Link)
Tata Motors Group global wholesales at 341,791 in Q3 FY25 (Link)
Mazda plans to build an EV battery factory in Japan (Link)
Volkswagen delivers around 4.8 million vehicles worldwide in 2024 (Link)
Clarios secures contract for advanced batteries from US-based automaker (Link)
CES 2025: Auto Suppliers Show Tech Built for EV Disruption (Link)
DXC and Ferrari extend partnership to develop in-vehicle infotainment systems (Link)
CES 2025: Intel introduces whole-vehicle platform (Link)
Tesla Charging Network Compatibility With Mercedes Starts In February (Link)
Hyundai commits a record +$16.6 billion in Korea to develop new tech and EVs (Link)
BMW blends AR and panoramic displays into the dashboard of the future (Link)
Mercedes Cars Get IMAX Enhanced Entertainment System (Link)
Volvo sold nearly 100,000 EX30 SUVs its first year and now it’s ready to take the US by storm (Link)
Mercedes India to launch 8 new cars, SUVs this year (Link)
🔬PATENT WATCH
Fresh Innovations from global automotive OEMs
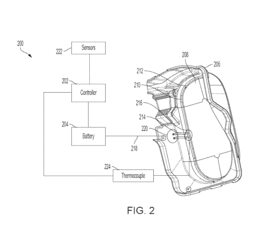
Rivian’s Heated Headlight Patent
Heated Lens for Vehicle Lamps
Rivian’s patent outlines a heated lens that minimizes precipitation buildup (snow, ice, rain, or mist) on lamps.
Incorporates a carbon nanotube layer, which transfers heat to the lens to melt or reduce precipitation.
Addressing Reduced Lamp Heat
LED lamps produce less heat than halogen lamps, making them more prone to precipitation buildup.
The new lens design avoids obstructing light (unlike wired heating methods) because the nanotube layer is translucent.
Heated System Operation
The carbon nanotube layer may be coupled with heating elements such as wires or silver busbars.
Sensors detect weather conditions, triggering a controller to activate the heating layer and clear the lens.
Broader Applications
The patent mentions using this technology for headlamps, windshields, windows, mirrors, or the vehicle shell, providing wider protection from precipitation.


🐦AUTO BUZZ
Top posts, tweets, and videos from the automotive industry
A Chinese self-driving truck.
— #Massimo (#@Rainmaker1973)
7:34 AM • Jan 12, 2025
Chinese automaker GAC, a seller of 2.0 million vehicles annually, had a rough 2024.
1. Total sales dropped to a long term low (even below 2020's Covid affected low).
2. BEV sales decreased 30% in 2024.— #AJ (#@alojoh)
5:59 PM • Jan 12, 2025
⚡🚗 Improved visual alert! Check out the Top 25 fully electric new car sales in Germany (2024):
1️⃣ Tesla Model Y
2️⃣ Škoda Enyaq
3️⃣ VW ID.4/5
4️⃣ VW ID.3
5️⃣ Cupra Born🎨 Colors highlight the different automotive groups leading the EV race.
— #Electric Nick (#@electric_nick_)
5:09 PM • Jan 12, 2025

For the full year 2024, the wholesale ranking of BEV models is as follows:
🔹 #Tesla Model Y ranked first with annual sales of 556.7K units, but saw a YoY decline of 13.9%. #BYD Seagull and Tesla Model 3 ranked second and third respectively
🔹 Although BYD Yuan+ and Dolphin… x.com/i/web/status/1…— #ThinkerCar (#@thinkercar)
11:42 AM • Jan 11, 2025
📈MARKET SNAPSHOT
This week’s key movers in the automotive stock market

📆CALENDAR
Upcoming auto industry events and and earnings calls
