
IN TODAY’S REPORT
Crisis at VW
China BEV Update
Waymo Safety Stats
Toyota’s New AI Patent
Google fined over Android Auto App
Market Snapshot
From Twitter
BRIEIFING
Crisis at VW

Volkswagen's share price has hit a 10-year low, trading at 3.5x forward earnings, reflecting concerns over challenges facing the company. The entire European auto industry is struggling, particularly with a slow transition to electric vehicles (EVs) and declining demand in Europe, which hasn’t fully recovered since COVID-19.
Volkswagen considers historic German plant closures in cost drive (Link)
Volkswagen (VOWG_p.DE), opens new tab is considering closing factories in Germany for the first time, in a move that shows the pressure Europe's top carmaker is facing from cheap Asian competition.
VW, which drives most of Volkswagen's unit sales, is the first of its brands to undergo a cost-cutting drive targeting 10 billion euros ($11 billion) in savings by 2026 as it attempts to streamline spending to survive the transition to electric cars.
VW considers one large vehicle plant and one component factory in Germany to be obsolete, its works council said as it vowed "fierce resistance" to the executive board's plans.
Tesla and Chinese automakers, once dismissed by the industry, now dominate the EV market. In China, 50% of new car sales are electric, with companies like BYD leading in production and core EV technologies.
Volkswagen brand's current European annual run-rate around is currently running at just under 0.5 mn units below pre-Covid levels or the equivalent of two production sites.VW's market share remains stable at above 10%; however, its failure to adapt to a slower market has caused over-capacity and underutilisation while others that have reacted, such as Ford with Saarloius, are potentially in a better place. Meanwhile, Stellantis are boosting utilisation with Chinese JV partner LeapMotors assembly in Poland. VW has told us they aren't prepared to open its European facilities to its Chinese JV partners in order to improve utilisation, which would prevent plant cuts.
(Source)
VW have grossly mis-judged the potential of the Chinese market. From being one of the largest markets for VW, it has seen the most decline. They are squeezing margins while Chinese OEMs are giving them a run for their money both in China and also back in Europe.
Profits from China, Volkswagen's single biggest market, have nearly halved over the past decade to 2.6 billion euros in 2023. Expected to rise to around 3 billion euros by 2030, they will barely recover. (Link)

The company’s challenges exemplify the "Innovator’s Dilemma", where established firms struggle to adopt disruptive technologies like EVs while still improving/maintaining it's current cash cows. Large organization that are slow to adapt ends up being a company of the past era while new companies challenge the incumbents in the market. This is exactly what is happening with VW.
Oliver Blume, VW CEO, outlines a major cost-saving initiative designed to enhance the company’s financial performance. He discusses key challenges, including software development delays and production issues, which have affected Volkswagen’s profitability.
In my opinion, VW in the coming months have to make some hard decisions or we will be witness to the beginning of VW's chapter in decline.
China BEV Update (Link)


Key Takeaways:
By the forecast estimates overlayed in the above graphs, we can expect China to saturate around 2030. Much earlier than what was thought by other analysts until now.
BYD is the major contributor to this momentum that we see in China. The vertical integration that BYD has managed to achieve is paying off big.
In comparison, Europe as a whole is not able to keep up with the adoption rates in China.
Waymo Safety Stats
The most eye-catching part about this is their claim that Waymo is safer than human-driven vehicles. Of course, one must understand that that claim is built upon statistics. And based on how they have defined "safe".



Google fined over Android Auto App (Link)
JuicePass, developed by Enel, aims to help drivers find and navigate to charging stations.Google initially blocked JuicePass from Android Auto due to it not using the required app templates. Android Auto apps must follow specific templates based on app categories, such as audio or navigation.Enel complained to Italian authorities, leading to a €102 million fine for Google over accusations of abusing market power.Google appealed, moving the legal dispute to the European Court of Justice, which raised competition concerns. Google cited security and template compliance issues for blocking JuicePass but has since updated the template to allow the app.
PATENTS
Toyota's new AI Patent
Summary
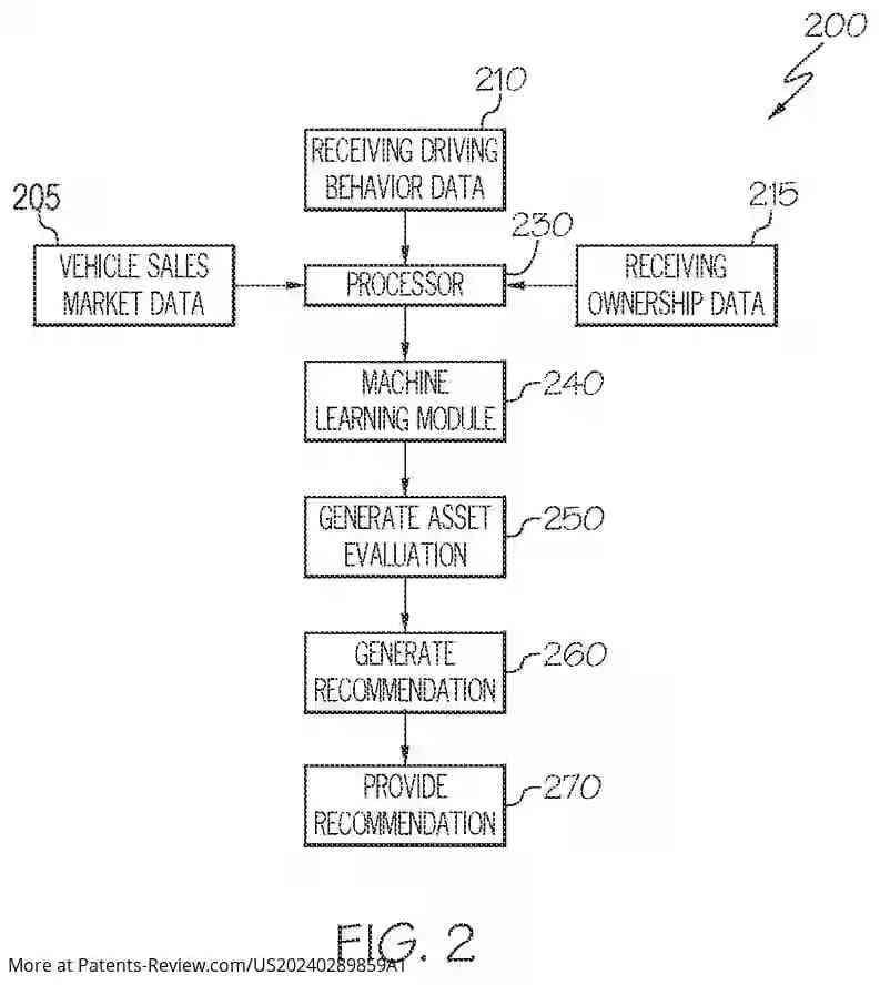
A system and method for generating recommendations of a vehicle corresponding to a driver's driving behavior includes
receiving driving behavior data of the vehicle
receiving data related to ownership of the vehicle
receiving vehicle sales market data
generating an asset valuation
generating a recommendation to a user
providing the recommendation to the user through a user device.
The driving behavior data is generated from vehicle sensors and is received with one or more processors communicatively coupled to a vehicle. A trained machine-learning model is implemented by the one or more processors and generates an asset valuation. The trained machine-learning model generates a recommendation to a user based on the asset valuation and the driving behavior data. The recommendation includes a new or used vehicle for purchase or leasing. The recommendation is provided to a user though a user device.



What are the use-cases?
Here are some that I can think of:
A car valuation that is tied to the car. Based on how the car was used, where it has been, history of service etc., the car can generate a valuation in itself
It can generate a car score that can be used in ride-sharing apps, giving the user to see the condition of the vehicle before they plan a ride.
Provide buy/sell/leases recommendations to the car owner based on market trends
FROM TWITTER
So what you are trying to say is:
Our Hydrogen vehicles will:
- Slower refuel in miles added per minute than BEVs
- Have lower efficiency than a BEV
- And are not emission-freeand therefore are not a viable alternative to BEVs, right?! 😂
— #Alex (#@alex_avoigt)
8:21 AM • Sep 8, 2024
Most Car Sales (51%) in China Are Now Plugins! Full Report
— #CleanTechnica (#@cleantechnica)
5:00 AM • Sep 8, 2024
I just posted to my subscribers a 10-page deep dive into BYD's global vehicle sales trends by powertrain using latest August sales data.
The attached slide is slide one of the analysis covering the top line sales figures.
— #AJ (#@alojoh)
6:17 PM • Sep 6, 2024
New details emerge about Tesla's upcoming Semi factory!
Aerial footage reveals construction progress & potential involvement of steel fabrication company BZI.
by @ResidentSponge
— #TESLARATI (#@Teslarati)
3:54 AM • Sep 8, 2024
China processes 65% of lithium, 74% of cobalt, 100% of natural graphite, & 90% of rare earths 🪨
Here, our partner, @AppianCapital breaks down the top countries for reserves, production, and processing of minerals that are vital to the energy transition.
visualcapitalist.com/sp/which-count…
— #Visual Capitalist (#@VisualCap)
4:02 PM • Sep 6, 2024
As for Hybrids, BYD is unsurprisingly the big player there.
But Hybrids will peak in China in early 2027.
ICE will be below 30% in just 1 and a half years and below 5% by late 2028.I have labelled the red line as ICE+HEV, since PHEV is what I was able to find in terms of… x.com/i/web/status/1…
— #LeRaffl (#@leRaffl)
9:56 AM • Aug 26, 2024
MARKET SNAPSHOT

