
IN TODAY’S REPORT
💼BRIEFING
CATL long range battery (Link)
CATL has launched its new Tianxing Bus battery, claiming it offers the highest energy density in the bus industry, with a capacity of 175 Wh/kg—22% higher than the previous model. This battery is designed to last up to 1.5 million kilometers (932,000 miles) and 15 years, featuring a ten-year or 1 million km warranty. CATL has already attracted interest from 13 companies and plans to mass produce the battery for 80 electric buses.
This launch marks a significant step for CATL as it expands beyond passenger vehicles into the commercial vehicle market. The company currently dominates global EV battery sales, holding a 37.6% market share as of August 2024. To support this growth, CATL is planning to build additional factories in locations including Germany, Thailand, Hungary, and the US.

What next?
Mercedes-Benz has also demonstrated impressive advancements in long-range battery technology. Their focus on extending the range of their EVs is crucial for making electric vehicles a viable alternative to traditional combustion engines.
Range anxiety is a what the industry has been optimizing because only then it would even be a viable solution.
In the next decade, the industry will likely focus on optimizing various battery architectures to enhance safety and efficiency. The combination of fast charging capabilities and large battery capacities is particularly promising. For instance, CATL’s latest battery can add 248 miles of range in just 10 minutes. This rapid charging capability, coupled with high capacity, addresses both range anxiety and the need for convenience.
Fast charging coupled with large capacity will be a deadly combination. Consider the evolution of smartphones. Initially, battery life was a significant concern, but advancements in battery technology and fast charging have made it possible to use smartphones extensively without frequent recharging
CATL’s market dominance is evident, holding a 37.8% share of the global EV battery market in the first half of 2024.
The point of SDVs —> In-car Karaoke 🙂 (Link)
Stingray has partnered with NIO to launch Stingray Karaoke in five European markets, offering the service free for three years to all NIO vehicles sold in Europe over the next two years. This follows a similar initiative by BYD. The karaoke feature allows interactive singing sessions for both drivers and passengers, whether the car is in motion or charging. Users can access lyrics and playback controls via a QR code-activated app. NIO's Director of Product Experience highlighted that this service aligns with the brand's focus on enhancing the travel experience. Additionally, NIO recently partnered with ScreenHitsTV to provide access to live TV and streaming apps in their vehicles.
What does this mean for SDVs?
NIO and BYD partnering with Stingray to have in car karaoke
The whole point of an SDV is to enable such integrations late in the product lifecycle without having to incur large costs, for example, updating to a new hardware.
Conversely, if there is a need for a hardware dependent or a feature that is tightly coupled with specialized hardware, then it is inevitable but to upgrade or add-on this new hardware to the vehicle.
SDV cannot solve for hardware dependency. SDV, if done correctly, with the right layers of abstraction can only shield the rest of the vehicles from large changes or reduce the magnitude of such a change.
Becoming Software-defined does not mean you can be agnostic to the underlying technology. Although suppliers, tools, vendors etc. will try to sell this idea, it is simply not true. More importantly, the real question is, if it is of any business value to achieve hardware independence. Is that where the constraints lie today?
BYD being cheaper even after tariffs (Link)
Despite a new 100% tariff on electric vehicles imported from China, BYD is expected to maintain the lowest-priced EV in the US, with its cheapest model projected to be under $25,000. BYD, which has focused exclusively on EVs since 2022, has a strong background in battery production, allowing it to keep costs low. Its Seagull EV starts at under $10,000 in China, indicating its competitive pricing strategy.
While BYD currently sells only electric buses in the US and has no immediate plans to enter the passenger vehicle market, analysts suggest that its established supply chain gives it a significant advantage over US automakers. The tariff aims to protect American manufacturers, but it may also hinder EV adoption in the US. Meanwhile, American automakers are facing delays in their EV projects, allowing BYD and other foreign competitors to gain ground.

Source: @alojoh in X

Here is how BYD is able to achieve this
They are vertically integrated to an extent that no other EV OEM is even close. They are capable of manufacturing most of the core components right from the battery to the complete vehicle chassis. They even own ships that they use to transport their vehicles to their end market.
Early experience in core technologies like battery manufacturing. A key differentiator for BYD is its early investment in battery technology, a foundational component of EVs. They were also supplying batteries to Nokia and Motorola in the late 90s.
Economies of scale: BYD enjoys a large market share in China and in most other markets. This creates a virtuous cycle that they enjoy compared to other EV manufacturers.
EV Truck Study (Link)
Executive summary
Regulatory drivers are pushing towards Battery-electric trucks, while OEMs offer a growing range of BET products. Further truck electrification requires new platforms meeting varying customer requirements and use cases.
Facilitated by innovations in battery system, cell chemistry, eDrive and HV architecture various use cases are enabled. Truck-specific developments for battery and eDrive will be the decisive differentiator.
Higher initial investments remain a challenge – yet TCO clearly pushes towards electrification. BET efficiency, charging infrastructure utilization, and the right choice of cell chemistry as key TCO drivers.
By 2030, we expect more than 20% of transportation to be be electrified. With more than 1,700 GWh in 2040, truck batteries gain in importance, with increasing importance of LFP.
The impact of electrification in logistics and transportation requires not only significant investments in public and private infrastructure, but also updated operating models.
To make the BET transition a success, cross-industry efforts are required – from regulatory, via automotive and energy towards logistics facilitated by financial services.

Regulations related to emissions have always been in steps and a gradual approach. A close equivalent to Moore’s law in semiconductors, a lot of research and development in the automotive industry was tied to emission regulations.
But in the case of EVs, I think the regulation will soon be on what materials and processes are allowed to be used in vehicles due to safety or environmental reasons. This could have direct correlation to the types of batteries that are chosen by OEMs, all the way down to what metal is mined more in relative to others.



Despite the common belief that EVs have fewer moving parts. and should hold more value over time. The analysis here is contrary to that, and powertrain cost and depreciation cost form a considerable factor to TCO.
Energy costs are still the highest contributor to price sensitivity towards TCO.

25% market share compared to passenger vehicles in a way means that the heavy vehicle industry will be trailing in terms of innovation and technology compared to passenger vehicles. Simply because, the financial viability is much easier for suppliers, vendors and other parts of the value chain to cater too.
This also opens up for a space in the market for a truck specific battery supplier in the value chain. The needs are quite different and so is the business model compared to passenger cars, so it could be the case that a new player could charge a premium for their heavy vehicle battery systems

For charging speed the highest bang-for-buck is in investing in the infrastructure. And the bulk of the cost reduction on the powertrain comes down to the cell choice. There is a clear strategic advantage to own and bring the battery technology as close to the OEM instead of relying on supplier and “external” technology.
Lucid Motors has hired Robert Windel, a former Apple veteran, as a senior audio tuning engineer. Windel, who has 23 years of experience in the audio industry, previously worked on audio tuning for Apple products like iPhones, AirPods, and Macs. He expressed his passion for car audio, which began in high school.
Lucid Motors, led by Peter Rawlinson, integrated Dolby Atmos into its 21-speaker sound system in the Lucid Air sedan. The company plans to start production of its second model, the Gravity SUV, later this year and aims to produce a mid-size SUV by 2026.
BMW’s design department is undergoing a significant reorganization. Max Missoni, formerly with Volkswagen, Volvo, and Polestar, will lead the design for upper mid-size and luxury cars, including Alpina. Oliver Heilmer, previously head of Mini Design, will oversee compact and mid-size BMWs, as well as the M Division.
⚡ROUNDUP
Tesla May Have Solved Its 4680 Battery Problems (Link)
Stellantis Looks to Stave Off Work Stoppage (Link)
Californians Are ‘Ashamed’ To Drive Teslas (Link)
Former Hyundai CMO named X’s global head of marketing (Link)
2024 BMW iX xDrive50 Long-Term Review: The App Experience (Link)
CATL launches ultra-high-energy-density EV bus battery that lasts nearly 1 million miles (Link)
Gogoro CEO resigns as subsidy fraud investigation continues (Link)
BMW lowers guidance amid costly recall, China headwinds (Link)
BMW hires former Polestar design boss as part of creative team reshuffle (Link)
Nio Follows BYD with Stingray Partnership to Offer In-Car Karaoke in Europe (Link)
BMW took two years to find extent of brake defect behind recall (Link)
GM Could Use Chinese Battery Cells Built In The US By Japanese Brand (Link)
Volkswagen may book up to $4.4 billion in provisions on capacity cuts, Jefferies says (Link)
Italy cuts funding for Stellantis, Mercedes EV battery factory (Link)
Sony-Honda venture shows off Afeela prototype to Amazon employees (Link)
Mercedes, BYD end tie-up for Denza premium EVs (Link)
Zeekr 001 spotted with hybrid powertrain as PHEVs gain momentum in China (Link)
Polestar Shares Surge 200% in 6 Weeks, Regaining Nasdaq Compliance (Link)
EV Batteries Can Outlast A Vehicle’s Lifetime With Minimal Degradation, Study Finds (Link)
GM’s top-selling EV in China is getting an update leaked images reveal (Link)
Lucid Hires Apple Veteran to Strengthen Its In-Car Audio Team (Link)
The cybersecurity labor gap now stands at 4M+ open jobs — Intezer has raised $33M for AI tools to plug it (Link)
Rivian’s Apple Music Really Is Worth $14.99 A Month (Link)
BYD would still have the cheapest EV in the US, even with a 100% tariff (Link)
Driver-Assist Systems Are Making Us More Distracted Drivers: Study (Link)
BMW i Ventures Announces Investment in RunSafe Security to Bolster Cybersecurity for Critical Infrastructure. (Link)
🔬PATENTS
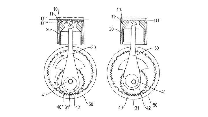
Porsche Patents A Two Times Three Stroke Engine
Porsche is developing an innovative engine concept that could improve both efficiency and power density. The company has filed a patent (Appl. No. 18/585,308) with the U.S. Patent and Trademark Office in collaboration with the Technical University of Cluj-Napoca. The engine introduces a unique "two times three strokes" design, which operates as a six-stroke engine, unlike the conventional four-stroke cycle.
The engine uses a crankshaft mechanism that rotates in an annulus, completing a full cycle in 1080° instead of the traditional 720°. The six phases of the cycle are: intake, compression, power, compression, power, and exhaust. This allows the engine to have two power strokes, delivering more power while maintaining cleaner combustion.


🐦FROM TWITTER
Italy Pulls $223M EU Funds from Stellantis Battery Factory 🚗 #Stellantis #Italy
Stellantis’ Termoli gigafactory loses key funding as EV sales slump.
teslarati.com/stellantis-gig…
— #TESLARATI (#@Teslarati)
2:00 AM • Sep 18, 2024
Ford is adding one of Tesla's most unique entertainment features
— #TESLARATI (#@Teslarati)
9:26 PM • Sep 17, 2024
This Mid-Autumn Festival, discover the different moods and aesthetics of the moon. Follow NIO User Creatives and unlock a unique moonlit landscape with the new NIO Phone.
#NIO #BlueSkyComing #NIOUserCreatives #NIOPhone— #NIO (#@NIOGlobal)
7:00 PM • Sep 17, 2024
Congrats to @lotuscars on the unveiling of Theory 1, its first concept car that embodies the future of intelligent performance vehicles with human-centric design. The LOTUSWEAR technology line is built on the NVIDIA DRIVE compute platform – enabling redundant and diverse… x.com/i/web/status/1…
— #NVIDIA DRIVE (#@NVIDIADRIVE)
6:48 PM • Sep 17, 2024
Kia's first electric PBV spotted as new Volkswagen ID.Buzz rival [Video] by @EVPeteJohnson
— #Electrek.co (#@ElectrekCo)
5:31 PM • Sep 17, 2024
Germany Urges “Political Solution” in EU-China EV Tariff Dispute — EV $BYDDY $TSLA $GELYF $ZK $NIO $XPEV via @eletricvehicles
— #EV (#@eletricvehicles)
3:28 PM • Sep 17, 2024
EU Considers Reducing Tariffs on Chinese EV Imports Ahead of Key Vote #EVTrade #EUChina #Tariffs
🚗⚖️ As the Sept 25 vote looms, the EU may lower tariffs on China-made EVs from 36.3% to 35.3%.teslarati.com/eu-tariffs-chi…
— #TESLARATI (#@Teslarati)
2:00 PM • Sep 17, 2024
📈MARKET SNAPSHOT


Share to your colleagues!
