
IN TODAY’S REPORT
🦄EXPERIEMENT: AI-GENERATED SUMMARY
💼BRIEFING
Top insights and analysis that is moving the needle in the automotive industry
Chinese OEMs have been heavily tariffed by the US, EU and other markets. Chinese OEMs have been able to undercut local OEMs in price with even more features.
The tariffs aim to counteract the harmful impact of the subsidies and narrow the price gap between Chinese and EU companies.
– Tesla: 7.8%
– BYD: 17%
– Geely: 18.8%
– SAIC: 35.3%
– Other EV producers in China that cooperated in the investigation but have not been individually sampled: 20.7%
– Other EV producers in China that did not cooperate: 35.3%
Now tariffs are not only an economic tool, but also a geopolitical tool. Governments are using tariffs to put pressure on the Chinese government. However, this could be more detrimental to the local government.
China criticized the tariffs as protectionist and warned of retaliatory measures, including probes into European imports like brandy and dairy products. The EU's move comes amid broader tensions over Chinese subsidies for other green technologies, such as solar panels and wind turbines, as the bloc balances its push for clean tech with avoiding a trade conflict.
The European OEMs are ever more reliant on China to continue to produce vehicles anywhere in the world. They are in need of electronic chips, raw materials for batteries all of which China controls a large part of the market.
BMW AG is urging the German government to oppose significantly higher EU tariffs on Chinese-made electric vehicles, joining other German carmakers concerned about potential trade disputes with their key market, China. BMW CEO Oliver Zipse emphasized that additional tariffs would harm global companies and could spark a trade conflict with no winners.
Any tariffs on Chinese electric cars will have “no effect” in slowing their march into the European market, Skoda’s sales and marketing chief has warned.
“Infotainments without CarPlay” strategy



Android Auto and Apple CarPlay have long been considered as an alternative to the infotainment systems from vehicle manufacturers. User could easily get a familiar user experience and still get access to their most favorite apps.
As both Apply and Google trend to taking more control of the screen real estate in vehicles, OEMs are beginning to think otherwise. OEMs such as Tesla, Rivian and others do not offer either Android Auto or Apple CarPlay in their cars; both companies have developed a proprietary system. This completely in-house standard system in their cars gives them full control rather than letting that control go to a third party. GM is planning to drop support for these features as well.
Without Android Auto or Carplay, the infotainments systems from OEMs are going to be compared to each other. Customers will be ever more demanding for an infotainment system that is not annoying. This is the strategy that Rivian is betting on.
Not having the “back up” of having CarPlay, allowed these OEMs to really focus on what the customer needs.
Rivian Infotainment Review: I Didn't Miss Apple CarPlay (Link)
The Rivian R1S infotainment system impresses with its intuitive, Apple-like interface, despite the absence of popular features like Apple CarPlay. With a 15-inch central touchscreen and a 12-inch driver display, the system integrates nearly all vehicle functions while providing a clean, user-friendly experience. Rivian's software features well-thought-out graphics and an overall minimalist design, making the interface enjoyable to use. Although some users may miss physical buttons and CarPlay, Rivian's built-in features—such as advanced navigation and seamless media integration—showcase a compelling in-house alternative. Minor issues include difficulty adjusting fan speed and occasional Alexa command failures.
Tesla’s updated in-car music streaming strategy
Tesla has shifted its in-car music streaming strategy, ending its long-term partnership with LiveOne's Slacker product. Previously included in Tesla's Premium Connectivity service, LiveOne will now require Tesla owners to purchase Premium or Plus services for music streaming, except for existing users under lifetime premium plans. Despite LiveOne CEO Robert Ellin presenting this as an opportunity for growth, with upgraded services and increased revenue potential, the market reacted negatively, causing LiveOne's stock to drop by over 20%. Tesla's move aligns with its strategy to control the in-car experience, adding more native apps like Spotify, Apple Music, and Amazon Music.
Battery warranty for EVs
Most automakers have an 8 to 10-year or 100,000 miles warranty period on electric car batteries. This is because federal regulation in the U.S. mandates that electric car batteries be covered for a minimum of eight years.
MG announced a lifetime warranty for their vehicles a few months back:
SAIC Motor-CP and MG Sales (Thailand), manufacturer and distributor of MG cars in Thailand, boost customer confidence and bring the country’s automotive industry to the next level as part of the brand’s 100th anniversary, proclaiming itself as the first and only brand that offers an extended “Lifetime Warranty” for MG electric vehicles. Gearing towards its second decade of business operation in Thailand and to create a significant turning point for the EV industry, the company also extends a lifetime warranty for High-Voltage Battery, Electric Drive Unit, and Power Electronic Bloc. The lifetime warranty covers 4 EV models namely the NEW MG4 ELECTRIC, a popular electric global-model hatchback; the NEW MG MAXUS 9 and the NEW MG MAXUS 7, 100% electric 7-seat premium e-MPVs; and the NEW MG CYBERSTER, a 2-seat electric convertible sport roadster. The highlight of the warranty is its unlimited mileage coverage and also the lifetime warranty is not limited to the car’s first owner. It is applicable to both new and current MG customers which reflect the company’s determination and commitment for long-term customer care.
Hyundai partnerships announced last week
Hyundai and Waymo enter multi-year, strategic partnership (Link)
Hyundai Motor Company and Waymo have entered a multi-year strategic partnership to integrate Waymo's fully autonomous driving technology, the Waymo Driver, into Hyundai's IONIQ 5 electric SUV. The first phase of the collaboration will see the IONIQ 5, produced at Hyundai's Georgia EV facility, incorporated into Waymo's autonomous ride-hailing service, Waymo One. On-road testing will begin by late 2025, with large-scale production planned over multiple years. Both companies aim to enhance safety, efficiency, and convenience in autonomous transportation, with this partnership marking the beginning of broader collaboration opportunities.
Hyundai, Kia launch advanced battery technology project (Link)

Hyundai Ioniq 5N
Hyundai Motor Co. and Kia Corp. are collaborating with Hyundai Steel and EcoPro BM on a four-year project to develop lithium iron phosphate (LFP) battery cathode material technology in South Korea. The initiative aims to lower battery production costs, support fast charging, and improve discharging performance. The project also focuses on reducing emissions through direct synthesis of LFP materials, using domestically recycled iron to produce high-purity fine iron powder. This effort aligns with Hyundai and Kia's long-term EV strategies, aiming to enhance battery technology, reduce import reliance, and strengthen technological competitiveness.
⚡ROUNDUP
Key headlines shaping the auto industry this week
EU Imposes Big Tariffs on Chinese Electric Vehicles (Link)
Are EVs Really Fire-Prone Death Traps? (Link)
GM is working on an eyes-off, hands-off driving system (Link)
Tesla shares impressive data point about its Supercharger network (Link)
Hyundai and Waymo enter multi-year, strategic partnership (Link)
Simple Energy offers 8 year warranty for battery and motor (Link)
Rivian deliveries fall as component shortage slows production (Link)
Skoda: Tariffs on Chinese EVs will have ‘no effect’ (Link)
$2B in tax credits awarded to EV buyers so far in 2024 (Link)
Tesla loses its long-time Chief Information Officer (Link)
Rivian Software Guru Offers Update on Google Cast and YouTube Integration (Link)
Battery startup Northvolt to lay off workers, scale back expansion plans (Link)
Volkswagen slashes financial outlook — again (Link)
Jim Farley Has A Plan For The Future Of Ford — More Low-Volume, High-Profit Cars (Link)
Software-defined vehicle advances to AI-defined automaker (Link)
Rivian Infotainment Review: I Didn't Miss Apple CarPlay (Link)
Tesla Will No Longer Offer Premium Streaming Services for Free With Premium Connectivity (Link)
TuSimple founder Xiaodi Hou is back with a new autonomous truck startup (Link)
BYD Sold Record 419,426 Plug-in Vehicles In September (Link)
BMW urges Germany to vote against EU tariffs on Chinese-made EVs (Link)
BYD plans new local manufacturing facility in India (Link)
Cruise Fined $1.5 Million For Hiding Information About California Crash (Link)
Tesla shifts its in-car music streaming strategy, crashing this stock in the process (Link)
Qualcomm and Epic Games Partner to Elevate In-Vehicle User Experiences with Unreal Engine and Snapdragon Digital Chassis Solutions (Link)
Hyundai, Kia launch advanced battery technology project (Link)
Top automotive industry conferences in 2025 (Link)
Qualcomm and STMicroelectronics Enter Strategic Collaboration in Wireless IoT (Link)
Turkey in final stages of investment talks with China car maker Chery, official says (Link)
Nio gets $1.9B injection from parent, investors (Link)
Volkswagen integrates Google’s generative AI to enhance app experience (Link)
GM, Magna, Wipro launch software marketplace SDVerse (Link)
🔬PATENTS
Fresh Innovations from global automotive OEMs
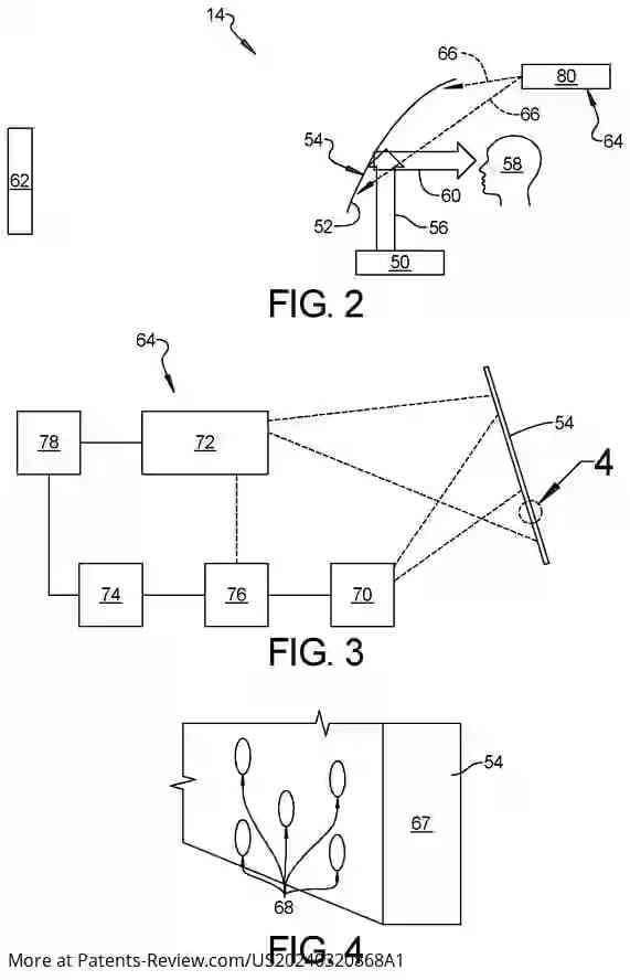
Machine Learning Based HUD System with Alerts for Hidden Bodies
The patent application titled "MACHINE LEARNING BASED HUD SYSTEM WITH ALERTS FOR HIDDEN BODIES" describes a vehicle system designed to enhance driver safety by identifying hidden obstacles through an augmented reality head-up display (HUD). The system utilizes front cameras, an augmented reality HUD, and a trained neural network to identify hidden bodies or obstacles in front of the vehicle. The HUD then displays augmentation graphics on the windshield, highlighting these hidden bodies.
Key Features:
Front Cameras: Collect images of the environment in front of the vehicle.
Augmented Reality HUD: Projects information and graphics on the vehicle's windshield.
Controller with Neural Network: Analyzes captured images using a trained neural network to detect hidden bodies and obstacles.
Applications:
Enhanced Safety Features: Alerts the driver to hidden obstacles on the road, increasing awareness.
Improved Navigation: Real-time information on road conditions is displayed to enhance the driving experience.
Autonomous Vehicle Integration: Supports enhanced obstacle detection for autonomous driving systems.
Problems Solved:
Hidden Obstacles: The system increases awareness of hidden objects, thereby improving driver response time and safety in various conditions.
Benefits:
Driver and Passenger Safety: Early detection of obstacles improves overall safety.
Navigation Enhancement: Displays real-time information about potential obstacles, helping drivers navigate more effectively.
Driving Experience Improvement: Augmented reality graphics provide intuitive visual feedback.
Commercial Applications:
This technology can be employed in the automotive industry to develop advanced vehicle safety and navigation systems, particularly in autonomous vehicles for better obstacle detection and navigation capabilities.
Key Questions:
1. How does the system differentiate between hidden bodies and regular objects?
Answer: The system uses a trained neural network to identify hidden bodies based on unique patterns and characteristics stored in its database.
2. Is this system compatible with existing vehicles?
Answer: Yes, it can be integrated into existing vehicles with the necessary hardware and software upgrades.




🤖TECH DEEP DIVE
An inside look into new automotive technology
USB Peripheral Controllers and USB Stack

Source: NXP
A USB controller handles all the communication via a USB stack running on a microcontroller (MCU), while a PHY provides the physical interface to the cable. Some hubs and MCUs integrate all components required for a USB system into a single IC.
In general, a USB peripheral or device is something that connects to the USB host and uses some USB function such as data transfer or power transfer. Note that a “function” is some action enabled by the USB specification, such as Hi-Speed data transfer. Examples of devices and peripherals are physical items such as keyboards, storage devices, or portable electronics like mobile phones or portable game consoles. A USB hub is both a device and peripheral to the host.
How USB Communicates
Host Initiation: All USB communications are initiated by the USB host.
Frames: The host maintains time intervals called "frames" for communication.
Start of Frame (SOF): Host issues an SOF sequence at the beginning of each frame to control communication timing.
Communication Transactions: Transactions between the host and devices occur within these frames.
Communication Parameters
USB Speed: Determines the signaling rate of each frame.
Endpoint Size: Determines how much data each transaction moves.
Transaction Frequency: Frequency of host transactions to endpoints.
Enumeration Process: When a USB device is plugged in, the host enumerates it, determining parameters and transfer types for communication.
Key Terms and Concepts
Host: The central controller that manages all communication and data transactions.
Endpoints: Memory locations on devices used for data exchange.
Enumeration: Process where the host identifies device capabilities and configures communication.
Frames and SOF: Time intervals and signals that define when communication transactions can occur.

Source: Microchip
🐦AUTO BUZZ
Top posts, tweets, and videos from the automotive industry
🚨New video🚨
Long before the CyberTruck came to be, there was the Radar RD6, a fully-electric pick-up truck from Geely. It's now heading abroad as the Riddara Horizon and has received a few upgrades.We took the RD6 out to see what buyers can expect.👇
— #Inside China Auto (#@InsideChinaAuto)
3:32 AM • Oct 6, 2024
"After COVID-19, there's been a rethink at the way people look at cars." In our latest #DeepDrive podcast, we discuss the Maruti Suzuki Alto's drop in popularity and what it means for the hatchback segment. youtube.com/watch?v=bfCzv0…
— #Autocar Professional (#@autocarpro)
9:18 AM • Oct 6, 2024
The Murugappa Group's CG Power marks its foray into semiconductor design & development with acquisition of Renesas Electronics Corporation's Radio Frequency components business. CG Power is among the Indian companies approved to set up a chip-making plant rb.gy/6mej8k
— #Autocar Professional (#@autocarpro)
6:10 AM • Oct 6, 2024
BYD delivers 100 of its electric transit buses to Uruguay by @Volvojo1
— #Electrek.co (#@ElectrekCo)
8:56 PM • Oct 5, 2024
Rivian Delays Start of Production at New Georgia Plant to Q4 2028 — EV $RIVN via @eletricvehicles
— #EV (#@eletricvehicles)
8:30 PM • Oct 5, 2024
Funding 💰 of relevant mobility and automotive 🚘startups in the last 20 years
— #Augustin Friedel (#@AugustinFriedel)
6:27 PM • Oct 5, 2024
Rivian Automotive's sales fell over 33% last quarter due to a component shortage.
— #Automotive News (#@Automotive_News)
7:26 AM • Oct 5, 2024
📈MARKET SNAPSHOT
This week’s key movers in the automotive stock market

📆CALENDAR
Upcoming auto industry events and and earnings calls
