
IN TODAY’S REPORT
💼BRIEFING
Top insights and analysis that is moving the needle in the automotive industry
Volvo’s bet on a single architecture
Yesterday Volvo presented it’s Q3 Earnings, and I think this one slide stood out from the rest

The most interesting part of the slide is how they are mapping investments to their platforms and their newly introduced superset tech stack.
SPA3 is what they are betting on for the long term. Or at least I don’t see a SPA4.
My bet is however, that there is a SPA4 for sure. But they can’t put that on the slide and still justify the high investments up until now. I also assume the investments after the point of today is subject to change. And change it will
Core technologies that are very critical to today’s EE Architectures like the SoC, Communication interfaces, Performance Resources all are bound to run out. The real question is then what’s the burn rate?
On top of that, they also have an existing rolling fleet to maintain.

Even in this slide they make sure to also mention which platform each of the vehicle is based on.
Sticking to one platform and actually building the knowledge is what is actually going to make this any profitable for Volvo. If they can also trickle it downstream to other Geely brands, then it is a bonus.
One move that was a bit under the radar was that Volvo took full ownership of HaleyTek. HaleyTek brings in special competence around the infotainment domain. HaleyTek GAP accelerates the development and testing of Android-based infotainment systems. Designed with a robust architecture, it leverages our collaboration with QNX for low latency, rapid startup, and safety-critical applications, seamlessly hosting Android as a guest via hypervisor extensions.
2 Major OEMs doing similar cost-cutting moves
Amid cost-cutting measures, Stellantis has decided to sell its Arizona proving grounds. The car manufacturer purchased the site from Ford back in 2007 and moving forward, is expected to use a proving ground owned by Toyota, also located in Arizona.
On October 18, General Motors notified that it has ceased operations at its Cold Weather Development Centre in Kapuskasing, Ontario, and that facility assets and property “will be disposed of.
I think this is just a start. The next 2 years we are going to see very creative cost-cutting measures from incumbment OEMs.
Forvia Q3 Earnings Call Summary
In Q3 2024, Forvia reported sales of €6.4 billion, down 2.6% year-on-year. Despite the global automotive production decline of 4.6%, Forvia outperformed by 420 basis points (bps), driven by strong performance in Europe and North America, and in business groups like Seating, Interiors, Lighting, and Electronics.
Key highlights:
Organic growth was flat at -0.4%, impacted by currency and scope effects.
The company’s cumulated order intake reached €20 billion, with 36% coming from Asia, and a target of €30 billion by year-end.
Forvia continues efforts to reduce net debt, with plans to achieve a Net Debt/Adjusted EBITDA ratio of less than 1.5x by the end of 2025.
Sales growth was particularly strong with Chinese OEMs like Chery and Li Auto, though the company underperformed in China due to customer mix issues and delayed projects.
Forvia aims to enhance profitability and achieve sustainable growth through its EU-FORWARD initiative, which includes headcount reductions and cost-saving measures.
Forvia’s full-year 2024 guidance includes sales of €26.8-27.2 billion, an operating margin of 5.0-5.3%, and net cash flow of at least €550 million. The company remains focused on deleveraging and improving operational performance heading into 2025.
Mercedes-Benz opens new battery recycling plant that recovers ‘96%’ of battery materials (Link)
Mercedes-Benz has opened Europe’s first in-house battery recycling plant in Kuppenheim, Germany, using an innovative process that enables a recycling rate of over 96%. The plant uses a mechanical-hydrometallurgical process to recover valuable materials like lithium, nickel, and cobalt, which will be reused in future Mercedes electric vehicles (EVs). This facility closes the battery recycling loop for the automaker by handling all steps in-house, from shredding battery modules to extracting and refining materials from the "black mass" of battery electrodes.
Compared to the commonly used pyrometallurgy, Mercedes’ process consumes less energy, operating at lower temperatures and in a net carbon-neutral manner, aided by a solar-powered facility. The plant can recycle up to 2,500 tonnes annually, enough to produce over 50,000 battery modules for Mercedes EVs. Though starting modestly, the company plans to expand its recycling capacities.

Chinese Carmakers Ramp Up Production Overseas (Link)

Shift to Full-Process Manufacturing:
Chinese automakers are increasing their overseas full-process manufacturing capacity to avoid tariffs and meet growing demand in emerging markets.
Full-process manufacturing, which includes stamping, welding, painting, and assembly, is capital-intensive but offers high production capacity compared to knockdown assembly.
Production Growth:
As of 2023, Chinese automakers had a full-process manufacturing capacity of 1.2 million vehicles across nine countries. This is expected to more than double to 2.7 million by 2026, covering over a dozen countries.
Key Players and Locations:
Major Chinese carmakers, such as BYD, Chery, Changan, GAC, and SAIC, announced several new or expanded overseas projects.
Popular production locations include Thailand, Indonesia, Brazil, Europe (Hungary, Turkey), and Poland.
Expanding Markets:
Chinese automakers are targeting Southeast Asia, Central Asia, Latin America, and the Middle East for expansion.
BYD and Geely (via Volvo) are focusing on Europe, with BYD building plants in Hungary and Turkey.
Knockdown Assembly:
Growth in knockdown assembly, where parts are shipped for assembly abroad, is slower, with capacity expected to rise from 2.2 million vehicles in 2023 to 2.8 million by 2026.
⚡ROUNDUP
Key headlines shaping the auto industry this week
CATL sees revenue drop YoY in Q3 2024, but net profit jumps (Link)
Bosch opens new R&D, manufacturing site for NEV parts, autonomous driving in Suzhou (Link)
BMW recalls almost 700,000 cars in China on fire safety risk (Link)
GM is closing cold-weather development center in Canada (Link)
Stellantis Selling Arizona Proving Grounds As Cost Cuts Continue (Link)
Have Chinese car gimmicks gone too far? (Link)
China’s Weekly NEV Registrations: Tesla 13.2k, Nio 3.9k, BYD 89.6k, and More (Link)
Mercedes-Benz opens new battery recycling plant that recovers ‘96%’ of battery materials (Link)
Volkswagen Official Deported From China for Cannabis Use (Link)
China's Auto Industry Has The World On Notice. Here, It's Already Winning (Link)
Tesla Promises "Well Over 90%" Efficiency for the Cybercab's Induction Charging System (Link)
GM's CEO Says The EV Revolution Will Continue No Matter Who's In Office (Link)
GM Dips Into AI To Improve Quality And Catch Software Glitches (Link)
Xiaomi CEO Spotted Driving Ferrari Purosangue Ahead of SUV Launch (Link)
Top EU countries spend $45 billion subsidizing fossil-fuel company cars, study says (Link)
UK watchdog fines Volkswagen unit for unfairly treating customers (Link)
There’s Enough Lithium In Arkansas For The World’s EVs. Extracting It Is The Issue (Link)
Tesla (TSLA) predicts a record Q4, stock jumps 8% (Link)
Tesla says ‘more affordable’ EVs will launch early 2025 (Link)
VW pushes back launch of ID7 EV in the U.S. to ‘probably' 2025 (Link)
Stellantis to launch EV fleet with Factorial solid-state batteries (Link)
Rivian plant is a hellish nightmare of safety violations: report (Link)
Volvo EX30 remains a top-seller, but the company is still slashing its growth forecast (Link)
China carmakers to double overseas capacity to beat tariffs, report says (Link)
🔬PATENTS
Fresh Innovations from global automotive OEMs
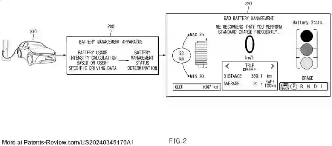
Apparatus for Managing Battery by Hyundai/Kia



This patent focuses on an apparatus and method for managing electric vehicle batteries. The system calculates a Battery Managing Index (BMI) to reflect the state of battery management by using several scores. The first score is based on battery usage data and output. The second score considers vehicle mileage and the battery's state of health (SOH). A third score is derived from the battery's charging history, including the number of standard and quick charges over different periods. These scores help the system to provide a guide to users about battery management and driving habits, aiming to improve battery longevity and performance.
The system delivers feedback in real-time, allowing users to see the battery's status, and suggesting either normal, good, or insufficient management based on the BMI. The method includes providing personalized advice on battery charging and vehicle use, helping extend battery life and efficiency. This technology enhances user control over battery usage, allowing for better performance management in electric vehicles.
🐦AUTO BUZZ
Top posts, tweets, and videos from the automotive industry
This test proves that the Porsche Taycan is the best road-trip EV. via @InsideEVs
— #InsideEVs (#@InsideEVs)
8:52 PM • Oct 22, 2024
Over Half of All US EV Sales in 2023 Were SUVs — Make it 100%
— #CleanTechnica (#@cleantechnica)
8:50 PM • Oct 22, 2024
🇪🇺 EU - Sep 24 - BEV Trajectory
⚡️⚡️17.3% BEV
⚡️🛢️39.6% Hybrids
🛢️🛢️43.1% ICEAwesome BEV share!
September 2024 is only beaten by Aug 23, Dec 22 and Dec 21, where Dec is typically an upwards outlier and Aug 23 had the forwards pulling effect because of the end of incentives.… x.com/i/web/status/1…— #LeRaffl (#@leRaffl)
5:33 PM • Oct 22, 2024
🚗⚡ Exciting news! ACEA today released the latest passenger car sales data by fuel type and country for September 2024, wrapping up Q3.
⚡️ BEVs reached 19.1% market share this month—the highest so far this year! That means nearly 1 in 5 cars sold in Europe in September was… x.com/i/web/status/1…
— #Electric Nick (#@electric_nick_)
7:18 PM • Oct 22, 2024
Your R1 is about to outdress you. This Halloween — transform your vehicle with Knight Rider, Back to the Future or Haunted Rivian Car Costumes available on your Rivian app. Time to get spooky.
— #Rivian (#@Rivian)
6:01 PM • Oct 22, 2024
Tesla is the cash flow king in the EV space: no pure play EV maker comes even remotely close. This is updated for Tesla's 3Q 2024 free cash flow of $2.7B
— #AJ (#@alojoh)
9:23 PM • Oct 23, 2024
📈MARKET SNAPSHOT
This week’s key movers in the automotive stock market

📆CALENDAR
Upcoming auto industry events and and earnings calls
