
IN TODAY’S REPORT
💼BRIEFING
Top insights and analysis that is moving the needle in the automotive industry
Scout’s winning EV


Source: Scout
The uncanny resemblance to a Rivian is not a mistake. They are going after the same market and that is really clear with their product offering. The specs are more or less comparable.
The priorities that SCOUT chose overall are winning in my opinion.
They directly went on to support the NACS charging standard
They chose the 800V HV architecture.
Scout has fully committed to the zonal architecture similar to what Tesla has been doing for years and what Rivian has recently switched to.
They chose not to work on top of VW’s MEB platform, but instead build a new one on their own. This will reap them benefits for years to come as they are building the knowledge of what the EV platform needs to be for their product-customer fit.
The 100$ refundable waitlist deposit is taking a tactic from Tesla’s playbook. It helps in both gauging interest and to accumulate leverage on the demand side.
The decision to go direct to customer. The waitlist also helps here, as it gives leverage to SCOUT if and when negotiations start with the dealer association.
Feature | Scout Traveler | Rivian R1S |
|---|
Seats | 5-6 (Two-row) | 7 (Three-row) |
Price | Under $60,000 (originally targeted in the $40,000s) | $77,700 to $120,000 |
Range | Up to 350 miles; 500 miles with range extender | 270 - 410 miles |
Battery Pack | Not disclosed | 92.5, 109.4, or 141.5 kWh |
Charging Architecture | 800-volt, 350 kW max charge rate | 400-volt, 220 kW max charge rate |
Charging Port | Tesla NACS | CCS, with Tesla Supercharger adapter |
Motors | Dual-motor, ~1,000 lb-ft torque | Dual-, Tri-, or Quad-motor (533 - 1,025 hp, up to 1,198 lb-ft torque) |
0-60 mph Time | 3.5 seconds | 2.5 - 4.5 seconds |
Length | 207.9 inches | 200.8 inches |
Off-Roading Capability | 12+ inches ground clearance, mechanical front lockers, sway bar disconnect, fords nearly 36 inches | 15 inches ground clearance, fords up to 43 inches |
Suspension | Solid rear axle, independent front | Independent, air suspension with hydraulic anti-roll |
Towing Capacity | Over 7,000 pounds | 7,700 pounds |
Payload Capacity | Nearly 2,000 pounds | 1,764 pounds |
Production Location | South Carolina | Normal, Illinois |
Availability | 2027 | Available since 2021 |

Do we need <7nm chips in automotive?

SiEngine recently announced that its 7nm autonomous driving chip, StarLight (or Xingchen-1/AD1000), has successfully “lit up,” signaling readiness for mass production in 2025 and deployment in 2026 for automotive applications. This milestone indicates that the chip's circuits function as expected, a critical step before further testing and qualification. StarLight meets AEC-Q100 standards and features a heterogeneous multi-core architecture with a CPU power of 250K DMIPS and NPU power of 512 TOPS, supporting advanced deep learning models like Transformer networks. The chip is intended for Level 2 to Level 4 autonomous driving.
SiEngine previously launched the Dragon Eagle-1 in 2021, China’s first 7nm automotive-grade cockpit SoC, featuring 8 CPU cores, a 14-core GPU, and multiple processing units. It became the top-selling domestic cockpit chip in China in 2023, with over 200,000 units deployed. This success positions SiEngine as a prominent player in China’s automotive chip market.
The main benefits of going to 5nm or 3nm process is a better performance and a lower power draw. But the real question is, was these aspects actually a problem in the automotive context.
The electrical system and the physical footprint is a whole different magnitude compared to smartphones. And there are many more innovative solutions to these problems, than to switch to a higher density chip. The cost of these chips, the monopolistic nature that TSMC has over the fabrication of these chips, and the overall complexity of shifting to a new technology all are good reasons to not go that direction.
The play on the supply side is of course, chip vendors are looking to consolidate their product lines. So it is way more beneficial for the chip vendor to have smaller product lines. The after effect of this is that automotive companies are getting pitched the same solution. A solution for a problem that does not really exist in the automotive side.
Porsche Q3 Close Call Summary

The biggest difference is in the deliveries towards China, dropping from 25% to 19%(60.6k to 42.9k in absolute terms). Although it is mentioned as “value over volume” strategy, it is hard for me to accept that lower volume was a planned outcome of their strategy. Some reasons as to why this is:
Effect of tariffs on imported vehicles.
Chinese alternatives have a similar product offering at a much lower cost and lower delivery lead time.

SAE International releases new EV charging standards (Link)
SAE International has introduced the SAE J3400: North American Charging System (NACS) Electric Vehicle Coupler Technical Recommended Practice (RP), setting unified standards for EV charging across North America. This standard addresses physical, electrical, functional, safety, and performance criteria, aiming to streamline and enhance EV charging infrastructure. Key features of J3400 include support for 1,000-V DC fast-charging, SAE Universal AC charging, and vehicle-to-grid (V2G) and backup power capabilities.
The J3400 standard builds on the Tesla-developed NACS connector initiative from 2023 and reflects collaboration across the automotive industry, government agencies, and academia. This effort is led by the SAE Hybrid-EV J3400 NACS Task Force, with stakeholders like Rivian supporting the anticipated federal and state regulatory alignment to create a compatible, interoperable charging ecosystem.
⚡ROUNDUP
Key headlines shaping the auto industry this week
As Arm rivals cook up custom silicon, Mediatek sticks to tried-and-true Cortex recipe (Link)
TSMC told US of chip in Huawei product after TechInsights finding, source says (Link)
Rivian vs. Scout: Range, performance, tech, dimensions, and more (Link)
Volkswagen's high-tech EV Factory faces sudden collapse as demand weakens (Link)
Ford, LG set to move EV battery production from Poland to Michigan (Link)
McLaren W1 — unveiling the secrets of this innovative hypercar (Link)
Forget Tesla — this Dodge EV has a game-changing battery (Link)
SiEngine’s StarLight 7nm autonomous driving chip successfully lit up (Link)
The Solid-State EV Battery Journey Has Only Just Begun (Link)
Porsche Changes EV Plan, Will Give Electric Models ICE Powertrains Too (Link)
All the news about Scout Motors, a classic SUV brand gone electric (Link)
Electric Cars & Trucks Save Fleet Operators 9% On Operating Costs (Link)
Ashok Leyland subsidiary bags order for 500 Electric Buses from MTC, Chennai (Link)
NIO is launching a ‘much more competitive’ Onvo electric SUV soon (Link)
Lucid Opens New Store in Germany, Reaches 8 Showrooms in Europe (Link)
Waymo raises $5.6B from Alphabet, a16z, Silver Lake, and more (Link)
LG now taking orders for Level 3 DC fast charger (Link)
CATL develops battery for promising extended range EV market (Link)
In a first, US approves massive new lithium mine in Nevada (Link)
eVTOL taxi startup Lilium is out of money and filing for insolvency (Link)
Zeekr Mix minivan started deliveries in China a day after the launch (Link)
How head-up display screens can make cars safer (Link)
Mercedes-AMG CEO thinks customers would embrace an electric AMG (Link)
GAC Group Reveals Global Design Approach Ahead of European Expansion (Link)
ABBs’ paint atomization technology selected by Mazda to accelerate sustainability (Link)
North Korean Spy Worked At Fisker For Nearly A Year (Link)
🔬PATENTS
Fresh Innovations from global automotive OEMs
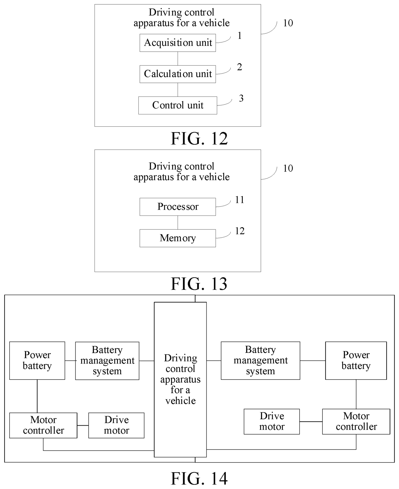
BYD: Method for balancing batteries of a vehicle, and device, and vehicle (Link)


This patent, granted to BYD Company Limited, details a driving control method and device for electric vehicles with multiple carriages (like rail vehicles and buses). The method focuses on managing battery levels across these carriages to ensure balanced energy usage, preventing issues where some batteries may deplete faster than others due to uneven distribution.
The system works by:
1. Monitoring Battery Levels: It constantly gathers battery level data from each carriage.
2. Allocating Load and Traction: Using this data, the control system adjusts the load or traction each carriage exerts, depending on each battery's state.
3. Balancing Torque Output: By fine-tuning the torque (force output) of each carriage's motor, the method aims to equalize battery consumption, thus prolonging operation without the risk of one carriage's battery depleting too early.
This balancing approach is achieved through a control unit that communicates in real-time with each carriage's battery management system and motor controller, thereby ensuring the vehicle operates efficiently and reliably over extended periods.
🤖TECH DEEP DIVE
An inside look into new automotive technology
What is Dual Lock Step?

Source: wikipedia
Dual-core lockstep (DCLS) is a high-reliability redundancy technique used in safety-critical computing systems such as aerospace, automotive, and industrial control systems. In a DCLS configuration:
1. Parallel Execution: Two identical processor cores (CPUs) execute the same instructions simultaneously, allowing real-time monitoring of each core’s output.
2. Result Comparison: At every execution step, the outputs of both cores are compared. If there is a discrepancy, it signals a potential error or fault in one of the cores.
3. Fault Handling: When an error is detected, the system activates a fault-handling mechanism, which may include retrying the operation, switching to a backup core, or entering a safe operational state, depending on the application requirements.
4. Temporal Separation: For enhanced resilience, DCLS sometimes introduces a slight delay (temporal separation) between the two cores. This delay helps prevent a single fault, such as one caused by external interference (e.g., cosmic rays), from impacting both cores simultaneously.
DCLS is especially valuable in applications that require continuous reliability, as it provides an effective means of detecting and managing faults in real time to maintain safe system operation.
🐦AUTO BUZZ
Top posts, tweets, and videos from the automotive industry
🚗⚡️ New Chart Alert: #Volkswagen Group Quarterly Deliveries & #BEV Share since 2020!
In Q3 2024, VW Group delivered 189,400 BEVs, making up 8.7% of all deliveries. We see a distinct saw-tooth pattern: BEV sales and share rise each quarter throughout the year, with a dip in each… x.com/i/web/status/1…
— #Electric Nick (#@electric_nick_)
2:21 PM • Oct 27, 2024
Chinese battery maker Svolt confirms it will end operations in Europe
Svolt said it had to make the decision after the development of the European EV market failed to meet the expectations of all stakeholders. 👇
— #CnEVPost (#@CnEVPost)
5:18 AM • Oct 27, 2024
KPIT Technologies registers 45% YoY increase in profit after tax at Rs 203 crore for Q2 FY2025, marking its 17th consecutive quarter of growth
- Growth led by middleware & powertrain domains
- Asian markets & passenger car business are growth accelerators t.ly/li_oj— #Autocar Professional (#@autocarpro)
4:56 AM • Oct 27, 2024
Tata Motors’ recently launched Curvv SUV-coupé with electric, petrol & diesel powerplants, which has scored a 5-star Bharat NCAP crash test rating, sells 8,218 units in 2 months since launch & contributes 10% to Tata Motors’ passenger vehicle wholesales rb.gy/ydh7mb
— #Autocar Professional (#@autocarpro)
4:21 AM • Oct 27, 2024
Tesla's Semi factory expansion at Giga Nevada gets its first full exterior corner, as highlighted in a video update from Zanegler this week.
— #TESLARATI (#@Teslarati)
7:05 PM • Oct 26, 2024
Driving into tomorrow, together 🔌
With the BMW Vision Neue Klasse and Vision Neue Klasse X we are ushering into a new era of driving by blending cutting-edge technology, responsible design, and the iconic BMW performance.
Join us: b.mw/mBIpY
#BMWGroup #NeueKlasse— #BMW Group (#@BMWGroup)
8:00 AM • Oct 26, 2024
BlackRock Becomes XPeng’s Largest Institutional Shareholder, Owns Now a 5.3% Stake — EV $XPEV via @eletricvehicles
— #EV (#@eletricvehicles)
3:36 PM • Oct 27, 2024
Chinese automaker Xpeng faces EU tariffs head-on 🚗💨
Xpeng is committed to its European market, even with steep tariffs. President Gu hints at local production in Europe.
teslarati.com/xpengy-europe-…
— #TESLARATI (#@Teslarati)
2:00 AM • Oct 26, 2024
Trump Says Detroit Automakers “Are Going to Be Out of Business” Due to China — EV $F $GM $STLA $TSLA via @eletricvehicles
— #EV (#@eletricvehicles)
5:58 PM • Oct 27, 2024
📈MARKET SNAPSHOT
This week’s key movers in the automotive stock market

📆CALENDAR
Upcoming auto industry events and and earnings calls

