
Hey there,
We're always looking to make each report better and more valuable for you. If you have a moment, could you please fill in the 1-minute feedback form.
🎯🎯1-minute Feedback: https://forms.gle/9dKSvwJomyWpzZhNA
IN TODAY’S REPORT
💼BRIEFING
Top insights and analysis that is moving the needle in the automotive industry
AUDI: Same same but different


Audi and SAIC launched a new brand called "AUDI" in China, omitting the traditional four-ring logo.
The first model, the AUDI E, is set for release in summer 2025, featuring a unique shooting brake design, hidden door handles, lidar, and an illuminated logo visible from 120 meters. The brand is focused on the Chinese market, with plans for three electric models based on a new digital platform.
AUDI models are designed to meet local needs, including a custom operating system (AUDI OS), facial recognition, and the Audi Voice Assistant. The AUDI E will have a 100 kWh battery, 800V architecture, over 700 km range, dual motors, and advanced steering and suspension features.
What does the rebrand actually achieve? Nothing. This has got to be a one of the worst rebranding’s I have seen lately. The amount of confusion I see in the future between Audi and AUDI. I don’t understand how their marketing department actually signed off on this concept. Audi claims that the new brand "signals both the connection to and differentiation from the sister brand”. I understand that creating yet another new brand would have meant that they are to start from zero. But then they should have stuck with the Audi brand itself.
Was it to signal more affordable vehicles in a specific market?: If that was the case, why wouldn’t they just use the Volkswagen brand.
One plague of the automotive industry is all the “consultants” parroting away to executives in these OEMs: This whole rebranding I believe is just a culmination of a lot of “very-expensive” consultant hours that Audi had to pay for. In hindsight, was it actually worth it?
The China Strategy: If you can’t beat them, join them. That is exactly what Audi and many other foreign OEMs are doing to compete in the Chinese market. They simply don’t have the architecture or the product line to meet the Chinese customer demands or to match their competitors. Audi, in this JV, is using SAIC’s architecture to build these vehicles. They call it “Advanced Digitized Platform”
Hyundai Going Back To Physical Buttons Because American Buyers Don’t Like Touchscreens (Link)

Most OEMs, taking suit from Tesla, have slowly but surely moved from physical buttons and replaced them with touchscreens. The articles calls this the Tesla effect.
“As we were adding integrated [infotainment] screens in our vehicles, we also tried out putting touchscreen-based controls, and people didn’t prefer that,” HDNA Vice President Ha Hak-soo told Korea JoonAng Daily.
“When we tested with our focus group, we realized that people get stressed, annoyed and steamed when they want to control something in a pinch but are unable to do so,” Ha said.
The part that does not add up for me is that the results of the focus group done by Hyundai. They claim that American buyers don’t prefer the touchscreen approach. However Tesla seems to be still thriving with the same approach in America.
There are 2 takeaways from this:
Focus groups can be quite deceiving. Getting a sample size large enough to mean any statistical significance is one thing. But getting the right insights out of it is a completely different ball game. There is a distortion that happens during the process that get’s in the way of actually figuring out what the customers want. More often than not, focus groups are exposed to artificial settings and they might not mimic the real life setting the product is meant to be used in.
The overall user preference is not just a dichotomy between touchscreens and physical buttons. When it comes to user experience, it is a combination of all the little things that add up to a preference in the end. A/B testing just one end of that large decision tree won’t cut it. If we can use SW to do very fast and cheap A/B tests all across the decision tree, there is a much higher probability that the overall user experience is what the customer loves to use.
At the core of any company that is developing a real world product(be it HW and/or SW), the ability to actually know and understand your customer determines whether the company will succeed or not.
Partnerships announced last week
Stellantis and Infineon Team Up On Architecture For Next-Gen Electric Cars (Link)

Stellantis and Infineon have announced a partnership focused on developing the next-generation power architecture for Stellantis’ electric vehicles (EVs). Key highlights:
Advanced Power Solutions: Infineon will supply Stellantis with PROFET smart power switches, silicon carbide (SiC) semiconductors, and AURIX microcontrollers, enhancing EV efficiency, performance, and cost-effectiveness.
Intelligent Power Network Management: PROFET smart power switches will replace traditional fuses, reducing wiring and enabling intelligent power management in Stellantis EVs.
Silicon Carbide (SiC) Semiconductors: SiC technology will help Stellantis improve EV performance and efficiency, further aiding in cost reductions.
STLA Brain Zonal Architecture: The partnership includes developing Stellantis' STLA Brain architecture, leveraging AURIX microcontrollers for the first generation of this zonal system.
Joint Power Lab: Stellantis and Infineon plan to establish a lab dedicated to creating a scalable, intelligent power architecture for Stellantis’ future software-defined vehicles.
Long-term Market Preparation: Infineon is prepared to meet automotive semiconductor demand through facilities like the upcoming Smart Power Fab in Germany and SiC fab in Malaysia.
Lyft and Mobileye partner to commercialize autonomous vehicle services (Link)

Lyft and Mobileye have announced a strategic partnership to support the large-scale deployment of autonomous vehicle (AV) services across North America. Key points of the alliance include:
Partnership Goals: The collaboration aims to enable fleet operators to deploy Mobileye Drive-equipped AVs within Lyft’s network, optimizing the fleet’s utilization and profitability.
Technology Integration: Mobileye provides AV technology for manufacturers building purpose-built, AV-ready vehicles. These vehicles will be available for purchase by fleet operators, who can access Lyft’s demand platform to offer autonomous rides.
Cloud-Based AV Demand Technology: Mobileye’s new cloud-based AV technology will connect Mobileye Drive vehicles with AV fleet operators, while Lyft’s AV Partner APIs will facilitate fleet monetization.
Target Audience: The alliance is designed to serve fleet operators who want to manage large autonomous fleets in metropolitan areas, using Lyft’s rider base of 40 million annual users.
💹FINANCIALS
A focused look at recent automotive company financials
Rivian Update for Q3

Rivian's stock rose 3% despite missing Q3 revenue and earnings expectations.
Revenue: $874 million (below $1.01 billion forecast); EPS: -$1.08 (vs. -$0.95 expected).
Delivered 10,018 vehicles; produced 13,157 at its Illinois plant.
Reaffirmed goal to achieve positive gross profit in Q4 2024.
Maintained full-year delivery target of 50,500-52,000 vehicles.
Lowered 2024 production forecast to 47,000-49,000 due to component shortages.
Updated annual adjusted EBITDA loss forecast to $2.825-$2.875 billion.
Ended Q3 with $6.74 billion in cash; total liquidity at $8.11 billion.
Rivian is optimistic about its upcoming joint venture with Volkswagen, aiming to create advanced vehicle architectures that could impact various Volkswagen Group brands, including Audi and Porsche.
Despite weaker Q3 financial results, Rivian reiterated its goal of reaching positive gross margins by the end of 2024, betting heavily on revenue from regulatory credits, expected to bring $275 million in the fourth quarter alone.
The partnership with Volkswagen, initially announced in June, would make Volkswagen Rivian's second-largest shareholder through a $1 billion upfront investment and a potential total of $5 billion. This joint venture aims to leverage Rivian's software, integrated into a Volkswagen prototype, showcasing control over core vehicle functions and over-the-air updates. Additionally, Rivian's software is set to power the Scout Terra and Scout Traveler, giving it a foothold in Volkswagen's upcoming EV lineup.
Summary of Ferrari Q3 Earnings Call and Q&A
Q1: What were Ferrari’s main financial results for Q3 2024?
A1: Ferrari reported strong Q3 2024 results, with revenues of €1.6 billion, a 7% increase from last year. EBIT was approximately €470 million, with a margin of 28.4%, and net profit reached €375 million. Industrial free cash flow was over €360 million.
Q2: How did the new Ferrari F80 supercar perform in terms of demand?
A2: The F80 received overwhelming demand, with all 799 units fully allocated. The model is positioned as a technological and performance milestone, marking Ferrari’s continued advancements in hybrid and electric components.
Q3: When will deliveries of the F80 begin, and over what period?
A3: Deliveries for the F80 are set to start in Q4 2025 and will span over two to three years.
Q4: How has Ferrari's approach to electrification influenced the F80’s development?
A4: Ferrari is advancing in electrification with the F80, which features in-house developed electric motors and high-voltage battery modules. This hybrid model is part of Ferrari’s transition, with plans to introduce both hybrid and fully electric models in the future.
Q5: How is Ferrari managing changes in regional shipments, especially in China?
A5: Ferrari’s strategy in China focuses on controlled growth, maintaining volumes below 10% to align with the brand's exclusivity. Although demand varies across regions, Ferrari’s order book in China remains strong, with about five quarters of visibility.
Q6: How is Ferrari handling personalization trends and their impact on residual values?
A6: Ferrari noted that highly personalized cars sometimes have lower resale values. The personalization rate reached 20% in Q3, with Purosangue and Daytona SP3 contributing significantly. Ferrari monitors these trends and aims to balance personalization with long-term value.
Q7: What impact has the new ERP system had on Ferrari’s Q3 operations?
A7: The ERP transition, completed in Q3, temporarily reduced shipments due to production stoppages. However, Ferrari expects long-term efficiency improvements in sales, production, and administrative functions from the new system.
Q8: What is Ferrari’s guidance for Q4 2024 and beyond?
A8: Ferrari remains confident in its 2024 guidance, with projected Q4 deliveries for high-end models like the Daytona SP3, though slightly lower than earlier quarters. Ferrari emphasizes prioritizing quality over quantity, focusing on high-margin, well-personalized models to sustain profitability.



⚡ROUNDUP
Key headlines shaping the auto industry this week
OEM job cuts
Partnerships announced last week
New AUDI sub brand unveiled for China
Rivian News
AI x SDV
Ultra Luxury Segment
Top Headlines
4G-connected anti-theft system protects this cargo ebike when parked (Link)
Why Stellantis' STLA Medium Platform Should Make Range Champ EVs (Link)
Porsche’s Center Locking Wheels May Exit The Chat (Link)
EVs Take 23.6% Share In Germany – Below 2021 Levels (Link)
Suzuki's First Mass-Produced BEV Debuts in Europe (Link)
Tesla Is Now A $1 Trillion Company (Link)
Hyundai Going Back To Physical Buttons Because American Buyers Don’t Like Touchscreens (Link)
World EV Sales Report — Top Selling Auto Brands & Groups (Link)
What a second Trump presidency means for tech (Link)
Aptiv’s Q3 net sales declines 5.1% year over year to $4.9 billion (Link)
GM is retiring another gas-powered model to make room for the next-gen Chevy Bolt EV (Link)
Geely Galaxy L6 gets the NordThor 2.0 PHEV treatment as specs revealed by regulator (Link)
Android Auto Not Working on Your Samsung Phone? You Are Not Alone (Link)
Biden-Harris administration invests $44.8 million in EV battery recycling (Link)
Volkswagen’s China crisis: Can the German giant survive the EV price war? (Link)
Ferrari and Land Rover Show What Current BEVs Will Never Achieve (Link)
🔬PATENT WATCH
Fresh Innovations from global automotive OEMs
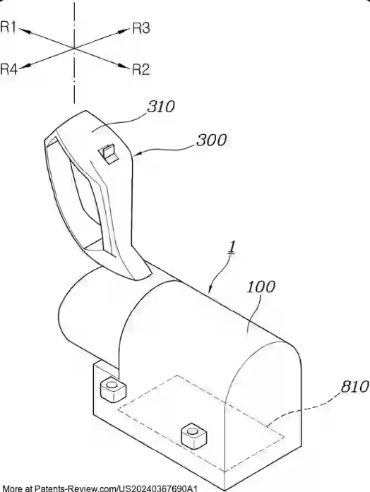
Hyundai: Integrated Operation Apparatus for Autonomous Driving Vehicle



This patent describes an integrated joystick control system for autonomous vehicles, allowing manual control of acceleration, deceleration, and steering through a joystick lever. Key components and functionalities include:
Joystick Lever Module: Enables acceleration, deceleration, and steering via forward, backward, left, and right movements.
Actuator Modules:
Acceleration and Deceleration Actuator: Responds to joystick movements for speed control, providing feedback to return the joystick to a neutral position.
Steering Actuator: Controls steering by generating a reaction force and returning to neutral when released.
Position Sensors: Detect the joystick's position for both speed and steering, ensuring precise control.
Control Module: Processes sensor signals and directs vehicle control systems (acceleration, braking, and steering).
Torque Sensor: Measures and adjusts steering force for accurate feedback.
Pop-Up and Folding Mechanism: The joystick can be stowed or deployed as needed.
The design aims to improve usability and safety by enabling intuitive joystick-based control, especially useful in autonomous vehicles requiring occasional manual intervention.
🐦AUTO BUZZ
Top posts, tweets, and videos from the automotive industry
The new electric Macan is a range champ even in Turbo form. It went above its EPA claim by two miles, even with larger wheels.
insideevs.com/news/740461/po…— #InsideEVs (#@InsideEVs)
7:05 PM • Nov 10, 2024
Tesla Rolls Out Major FSD Update with Neural Network Shift — EV $TSLA via @eletricvehicles
— #EV (#@eletricvehicles)
11:29 AM • Nov 10, 2024
BEV sales in China reached a new record of 673k in October. 🇨🇳
Although market share declined slightly, the 3-month trailing market share is now above 30%.
— #Roland Pircher (#@piloly)
9:54 PM • Nov 8, 2024
Chinese solar giant Trina sells its Texas factory a week after it opens by @michelle0728
— #Electrek.co (#@ElectrekCo)
7:14 PM • Nov 8, 2024
Volkswagen's software subsidiary @cariad_tech and the map service @TomTom have developed a new navigation solution optimised for electric cars. The system monitors the remaining range throughout the journey and adjusts the route if necessary. electrive.com/2024/11/08/car…
— #electrive global (#@ElectriveGlobal)
11:46 AM • Nov 8, 2024
Rivian lost $39,130 per vehicle sold in 3Q after losing $32,705 per vehicle sold in 2Q. I see comments and some people still believe Rivian gets gross margin positive in 4Q without credits. 😂
— #AJ (#@alojoh)
10:38 AM • Nov 8, 2024
China's NEV penetration rate at retail stood at 52.9 percent in October, down 0.4 percentage points from 53.3 percent in September, marking the second consecutive month of sequential decline.
— #CnEVPost (#@CnEVPost)
9:21 AM • Nov 8, 2024
Royal Enfield unveils new electric motorcycle - and its the perfect type by @MicahToll
— #Electrek.co (#@ElectrekCo)
6:44 PM • Nov 7, 2024
📈MARKET SNAPSHOT
This week’s key movers in the automotive stock market

📆CALENDAR
Upcoming auto industry events and and earnings calls
