
IN TODAY’S REPORT
💼BRIEFING
Top insights and analysis that is moving the needle in the automotive industry
Is Rivian going to be in trouble?

Explanation of the setup

A total of $5.8bn is set to be injected in different stages and in different forms. As of now a total of $2.3bn has been paid out to Rivian where the 1st billion as convertible note and the remaining as equity considering for the IP that VW wants to piggyback off from Rivian
The next billion is set to be paid out in 2025 if Rivian meets the financial milestone 2 quarter of >$50mn gross profit OR two consecutive quarters with positive gross profit. The next billion is to be paid if they meet the technical milestone of demonstrating their technology in a vehicle during winter time in 2026. That last $0.5bn will be paid out if VW is able to meet the SOP of 2027.
An additional billion is available for Rivian end of 2026 as a loan backed by Rivian’s equity stake.
Will Rivian meet the financial milestones next year
Let’s take a look at Rivian’s performance in the previous quarters.

Source: Company fillings, macrotrends.net
Even though the trend is in the right direction, most quarters were negative and currently sitting at $1,169mn. Given this condition Rivian will have to produce and sell more vehicles than what the management guidance calls for to have 2 positive quarters next year.
Rivian’s outlook for 2025 is assuming about 15% reduction in average vehicle production cost and about 4% increase in vehicle price. Both seems a bit too optimistic to me.
The odds are quite low for that happening unless Rivian has a trick up its sleeve.
Is Rivian biting more than it can chew. And why is Rivian forced to do this deal now?
Rivian is really dependent on the financing from VW to keep the company afloat in the near term. As a smaller company, I think Rivian is under-estimating the efforts it would reuqire for the JV and to actually reach production in VW for 2027.
There are differences in way of working, background of tech and even work culture between the companies. This will also take a toll on the JV and make it more challenging to produce results in time.
What is VW’s plan?
Today Rivian has a market cap of about $12bn. And if the financing goes according to plan, VW will be owning $4.5bn. We do have to keep in mind the dilution this brings to the Rivian stock.
If one of the financing rounds are missed due to Rivian not meeting the milestone would mean that they will need additional capital to maintain their current business expenditure. They could go for outside capital but a more “easier” arrangement would be to get additional financing against equity from VW itself.
VW in the announcement mentioned that they expect this JV to be part of their investment into a new EE architecture that will be used in multiple models including Scout. And that in the next 5-year round, VW has a lowered target of 165bn EUR for R&D and Capex. They expect this to provide the returns. As VW points out that this partnership is for vehicles for the Western markets, they have partnered with Xpeng for vehicles in the Chinese market.
If all goes south, VW could still consider buying out Rivian and actually adding them to roster of global brands as part of the VW Group.

What on earth is an 8-in-1 electric axle?

Before we go into that, a little background.
An electric powertrain typically includes the electric motor(s), inverter, transmission (if present), battery pack, power electronics (including the DC-DC converter and controller), and other components necessary for managing power flow.
The e-axle is a more specific component within an electric powertrain, which integrates several critical parts into a single compact unit that is directly mounted to the axle. An e-axle typically combines the electric motor, transmission, and power electronics (like the inverter) into a single housing, often mounted directly onto the vehicle’s axle.
E-axles are designed to provide power directly to the wheels, creating a more efficient and simplified system for powering EVs, often used in a dual-motor or all-wheel drive configuration.
Renesas Electronics announced the world's first “8-in-1” proof of concept (PoC) for EV E-Axle systems. It controls eight functions using a single microcontroller (MCU). Developed in collaboration with Nidec, this PoC integrates a motor, gear (reduction gear), inverter, DC-DC converter, and on-board battery charger (OBC).
They manged to build this with just 1 MCU(32-bit MCU RH850/U2B) and 1 PMIC and . In this particular case, it is not that MCUs have gotten really powerful but motion control of an all-in-one eAxle system only has so many physical modalities to control. Which is more than enough satisfied by a 32-bit 8 core CPU running at 400MHz.
The direction of optimization is right on many levels. Lesser number of mechanical parts, consolidating to 1 MCU capable of lock-step, lesser physical footprint. If they manage to create 1 beast of an eAxle platform Renesas will have 2 options ahead of them. Either they would like to also roll out an eAxle family of product with different performance steps or open up the platform for OEMs and the ecosystem to build on top of.
Enabling faster prototyping and adding features to make it modular with different vehicle architectures, battery packs etc. would be needed for the first option. While in the second option, the ecosystem pays to build all this, while using the core technology from Renesas+Nidec. In the second option, I believe they will not be able to maintain their competitive advantage for long as it will be commoditized down the value chain.

BYD becoming largest OEM
Last year, I wrote about how BYD became the largest Chinese carmaker. Today they are vying to become the largest carmaker in the world. The forces and moats in play for BYD are still intact. Check out my earlier article to read more:
💹FINANCIALS
A focused look at recent automotive company financials
NXP Investor Day Summary
Automotive has been the strongest growth sector for NXP over the past four years.
While the projected CAGR for Software-Defined Vehicles (SDV) is noted at 48%, this figure is likely influenced less by SDVs alone and more by the increasing computational demands of ADAS functions, which are driving up system requirements.
NXP’s reference architecture is well-developed, hitting key industry demands effectively.
Though the CEO emphasized that NXP doesn’t aim to position itself as a Tier 1 supplier, it seems increasingly likely that this stance may need reconsideration. As more parts of the “traditional” Tier-1 is going in-house to OEMs, chip vendors like NXP have to account for that and change their business model.
I believe the winning move for chip vendors are if the manage to convert themselves into a design-house for OEMs.
Chinese customers are applying significant pressure, pushing NXP to shorten platform upgrade cycles from the typical 4-5 years down to just 1-2 years, a pace much faster than that demanded by Western OEMs.


McKinsey forecast for semiconductors until 2030







⚡ROUNDUP
Key headlines shaping the auto industry this week
Financial Reporting
Piedmont Lithium Reports Q3 2024 Results (Link)
Continental Q3 net sales declines 4% year over year to €9.8 billion (Link)
Tata Motors consolidated Q2 FY25 results (Link)
Qualcomm reports FY 2024 revenue at $39 billion, up 8% YOY (Link)
Nikola’s Price Target Cut to $4 as Analyst Warns of Cash Strain Post-Q3 Results (Link)
BYD News
Top Headlines
How VW Got A 'Wake-Up Call' That Sparked A Rivian Team-Up (Link)
Volkswagen, Rivian launch their $5.8B joint venture (Link)
Ceer partners with Rimac Technology for electric drive systems (Link)
Renesas and Nidec unveil first 8-in-1 electric-axle system for EVs (Link)
New Hyundai Ioniq 9 EV – Hyundai’s take on the Kia EV9 – to DEBUT on 21 November (Link)
America Is In The Middle Of A Secret Battery Boom (Link)
Rivian Brings Enhanced Driver Profiles With Upcoming Update, Google Cast Nowhere in Sight (Link)
Car Connectivity Consortium Continues to Drive Innovation in Vehicle Connectivity (Link)
Porsche rounds off the second Taycan generation (Link)
Porsche Sales Are Falling. Here's Why (Link)
Lamborghini Temerario: 13 unrivaled driving experiences (Link)
BMW i3 Neue Klasse Sedan Spied For The First Time (Link)
Qualcomm to Unveil Strategic Vision for IoT and Automotive Growth (Link)
Lucid CEO: Many EVs In America 'Frankly Suck' (Link)
Stellantis JV May Yield to Chinese State Pressure to End Investments in Pro-Tariff EU Countries (Link)
Stellantis Claims Market-Leading 436-Mile BEV Range with STLA Medium Platform (Link)
AVL Software partners with PlaxidityX for enhanced vehicle cybersecurity (Link)
Bentley unveils new Beyond100+ strategy; plans to launch first luxury electric SUV in 2026 (Link)
Chemical soup: how electric car batteries are made (Link)
Ola Gen 3 products arriving by January 2025 (Link)
As demand for lithium explodes, battery recycling startup Tozero sprints to scale with $11.7M seed (Link)
Rivian locks in 5-year battery deal with LG Energy Solution (Link)
TomTom and Volkswagen Group's Cariad introduce advanced navigation solution for Audi EVs (Link)
🔬PATENT WATCH
Fresh Innovations from global automotive OEMs
NVIDIA: In-Path Object Detection
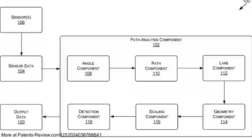
The patent US20240367686A1, published on November 7, 2024, describes a system for "In-Path Object Detection" that assists autonomous and semi-autonomous vehicles in detecting objects within their lane of travel. This system utilizes sensor data, including inertial measurements, RADAR, and LiDAR, to identify the vehicle's lane and surrounding objects without relying on image data or extensive road signature processing. Instead, it calculates lane boundaries based on the vehicle's motion, adding safety margins on each side. Using these boundaries, it determines if objects are in the vehicle's path, thus optimizing resource use and reducing dependency on image sensors for safe navigation. This approach is intended to improve safety, reduce system resource demand, and enhance the reliability of autonomous navigation.
Benefits:
Minimizes the need for image sensors and reduces computational load.
Saves system resources and requires fewer hardware sensors.
Enhances the reliability of in-path object detection and improves safety.



🐦AUTO BUZZ
Top posts, tweets, and videos from the automotive industry
Chery's Fulwin line-up is set to grow to include a wagon/MPV style model to be previewed as a concept at Guangzhou motor show
800V
30,000rpm e-motor
solid-state battery
1500km range
L3 driving tech
0-100 km/h: 3sec
260 km/h top speed@AutoIndustry
@CheryAutoCo— #Greg Kable (#@GregKable)
8:28 PM • Nov 13, 2024
FSD Supervised sees more than you
And never gets tired or distracted
— #Tesla (#@Tesla)
8:12 PM • Nov 13, 2024
BREAKING: DAN IVES SAYS $TSLA ROBOTAXIS IS “MATTER OF WHEN, NOT IF” 👀
He says Trump accelerates it !
— #TheSonOfWalkley (#@TheSonOfWalkley)
6:44 PM • Nov 13, 2024
Nikola Produces 65 Hydrogen Trucks in First Half of Third Quarter — EV $NKLA via @EV_carba
— #EV (#@EV_carba)
7:28 PM • Nov 13, 2024
Solid-state batteries finally look like they are getting closer to reality. autonews.com/ev/an-solid-st…
— #Automotive News (#@Automotive_News)
7:22 PM • Nov 13, 2024
New report from @T4America shows that fed surface transport spending is resulting in large increases in greenhouse gas emissions because of states' focus on highway expansion—including progressive states like CA & IL.
NY, MA, NE & OR are the exception. t4america.org/fueling-the-cr…
— #Yonah Freemark (#@yfreemark)
5:10 PM • Nov 13, 2024
In US cities, ~2/3 of crash deaths occur on streets owned by the state – not local gov.
Outdated, deadly state roads are preventing cities from building the safe, comfortable, and transit-friendly streets residents want.
My deep dive, in @voxdotcom
vox.com/future-perfect…
— #David Zipper (#@DavidZipper)
3:38 PM • Nov 13, 2024
Tesla recalls 2,431 Cybertrucks in the U.S. due to potential loss of drive power, marking the sixth recall this year. autonews.com/tesla/an-tesla…
— #Automotive News (#@Automotive_News)
1:57 PM • Nov 13, 2024
📈MARKET SNAPSHOT
This week’s key movers in the automotive stock market

📆CALENDAR
Upcoming auto industry events and and earnings calls

